
除雜滾筒篩概述:
滾筒篩又被稱為滾筒篩分機,滾筒篩是根據物料的顆粒大小進行分級處理的一種篩分設備,因工藝布置簡單,被廣泛應用于礦山、建材、交通、能源、化工等行業的產品分級。常用在中、細粒物料的分級篩分,以提高物料的質量。奧創機械可根據用戶的不同實際情況,可專業定制各種型號規格、各種方式的滾筒篩。
滾筒篩特點:
除雜滾筒篩分機具有功率小,能耗低,筒內有自清掃裝置,篩孔不易被堵塞;占用空間小,投資成本降低;運轉平穩可靠;篩分效率高;產量大;工藝布置簡便,安裝、維護方便,操作方便等特點。同時對物料的適應能力強,粘性、濕度大、臟、雜等各種性質的物料都能篩分,進料方式多樣化,即人工方式和機械傳動,能大批量生產,中心篩網采用環狀扁鋼圈設計,耐磨性好,使用壽命長,結構簡單,維修方便。
工作原理:
除雜滾筒篩采用滾動輸送原理,摩擦系數小,摩擦輕,篩孔不易堵塞。滾筒支撐采用整體通軸結構,運行平穩,不振動,噪音低。晟宇滾動篩內部滾筒篩網配件采用分體設計,結構簡單,更換維修快捷方便。滾動篩采用特制耐磨鋼板篩網,篩分效率高,使用壽命長,維護成本低。滾筒體采用有效的全封閉結構,粉塵不漏泄飛揚,使文明生產能可靠的保證。整機運行安全可靠,采用擺線減速傳動,傳動效率高,配帶功率小,能耗低,節能效果明顯。
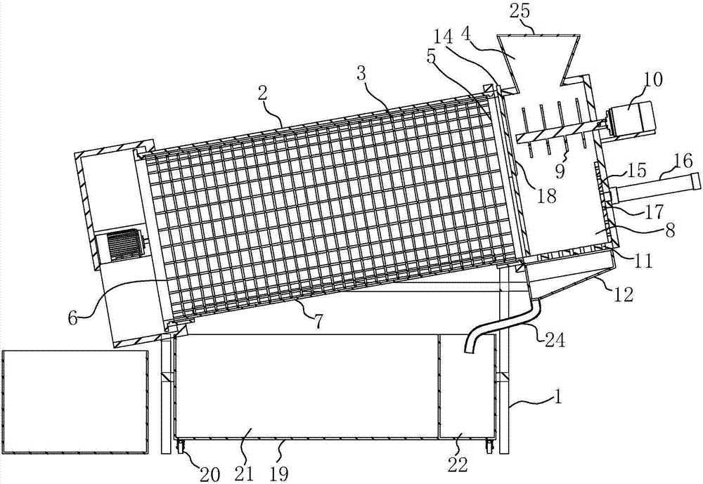
結構組成:
滾筒篩主要有電機、減速機、滾筒裝置、機架、密封蓋、進出料口組成。滾筒裝置傾斜安裝于機架上。電動機經減速機與滾筒裝置通過聯軸器連接在一起,驅動滾筒裝置繞其軸線轉動。當物料進入滾筒裝置后,由于滾筒裝置的傾斜與轉動,使篩面上的物料翻轉與滾動,使合格物料(篩下產品)經滾筒后端底部的出料口排出,不合格的物料(篩上產品)經滾筒尾部的排料口排出。由于物料在滾筒內的翻轉、滾動,使卡在篩孔中的物料可被彈出,防止篩孔堵塞。
滾筒篩參數:
滾筒篩廠家友情提示:請通過正規渠道購買奧創滾筒篩,以保障您的合法權益!
河南奧創機械有限公司:m.pcshares.com.cn 24小時服務熱線:13353676726